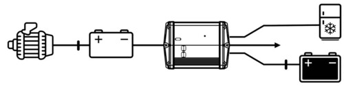
- Caractéristique de charge : IUoU
- Pour véhicules avec alternateur intelligent (convient pour Euro 6)
- Fonctionnement possible avec ou sans signal D+
- Fusibles intégrés (B1, B2 et réfrigérateur)
- Installation plug & play simple
T.T.C. et frais de port non inclus
- N° d'article : 821821




